13609623361

产品展示

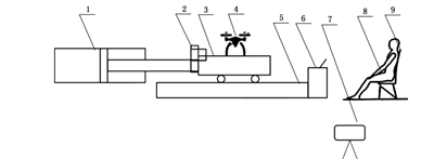
首页-产品展示-无人机检测实验室

产品中心

PRODUCT CATEGORY

相关文章

RELATED ARTICLES
无人机跌落试验机

无人机跌落试验台本机专用于测试产品受到坠落之受损情况,及评估运输搬运过程时耐冲击强度

更新日期:2025-12-04

型号:

浏览量:78

查看详情

无人机风量风洞实验室

风量风洞实验室主要由以下部段组成:风室结构、风管、调节风阀、支座、测压管盖等部件组成。可根据尺寸定制2mx2m、3mx3m、4mx4m、5mx5m等,具体试验段尺寸也可根据客户需求非标定制。

更新日期:2024-12-24

型号:

浏览量:2106

查看详情

低速风洞实验室

1.8m×1.8m×12m,风速0.5-30m/s;配备3自由度耦合强迫振动装置及人工降雨模拟装置。流场性能良好,试验区流场的速度不均匀性小于2%、湍流度小于1%、平均气流偏角小于0.2°。

更新日期:2024-12-24

型号:

浏览量:3934

查看详情

GBT38930民用轻小型无人机系统抗风性

民用轻小型无人机系统抗风性要求及试验方法

更新日期:2024-12-05

型号:

浏览量:1888

查看详情

大型降雨模拟设备

用于模拟小雨、中雨、大雨、暴雨等恶劣环境下的无人机长航时防雨性能测试。

更新日期:2024-12-05

型号:

浏览量:1786

查看详情

抗风能力GBT38058

在功能完好、电量充足状态下,启动无人机系统,无人机应接收到不少于8颗导航卫星的信号。当无合适的自然风场时,通过人工模拟方法,制造等同于无人机系统抗风能力的风速,将无人机置于人工风场中,按照6.4.9进行悬停试验,观察试验结果是否满足要求,使用地面控制单元控制其前飞、后飞、侧飞、转向,观察是否正常响应。

更新日期:2024-12-05

型号:

浏览量:1626

查看详情

无人机冲击试验机

用于测试材料对冲击负载的承受能力。测定材料在冲击载荷下的冲击强度或韧性。了解材料的能量吸收特性对于预测材料在失效前能够承受多大的塑性变形或永久变形。

更新日期:2024-10-17

型号:

浏览量:1803

查看详情

无人机跌落测试台

检验无人机飞行器的硬件可靠性。用于无人机运输包装件进行斜台冲击试验,许定运输包装件所能承受的冲击力和对内装物的保护能力本机可对包装件的面、角、菱作自由跌落试验,对无人机各个方位进行跌落撞击模拟。

更新日期:2024-10-17

型号:

浏览量:2081

查看详情

无人机自由飞行测试台

用于大型无人机自由飞行测试。能在横滚(Roll),俯仰(Pitch)、偏航(Yaw) 三个轴上自由转动,灵活高效的进行无人机飞行动态测试,同时保证无人机自身的安全。测试台兼容多种类型的多旋翼和尺寸规格的无人机,从450毫米到600毫米旋翼间间距,并支持高达1000毫米的旋转外径。同时支持扩展传感套装来增强测试台的测试性能:电子传感设备套装高分辨率绝对式磁编码器(多圈)将实时精准读取和保存您的测试数据。系统可以通过MATLAB和Simulink与PC电脑直连,最大限度加速无人机开发的研制和验证进程。智能电机套装测试平台的智能电机能够通过电流或电压主动控制无人机机体的转速、角位置和转矩。控制算法可以自定义调整,支持控制任一单台电机的转速和响应强度。

更新日期:2024-10-17

型号:

浏览量:2482

查看详情

14 个  每页 9 个  首页  上一页 12 下一页 尾页 第 1 页